Embedded Box Arduino Yun
ARDUINO YUN for rail DIN (EN 60715) application
Features
Eclosures for rail DIN assembly EN 60715 type, designed for “embedded” board more popular on the electronic market. Professional style in according with a new electronic way to develop electronic project.
Technical specs
| Material | Blend PC/ABS self-extinguishing |
| Colour | Grey, Special colour on request |

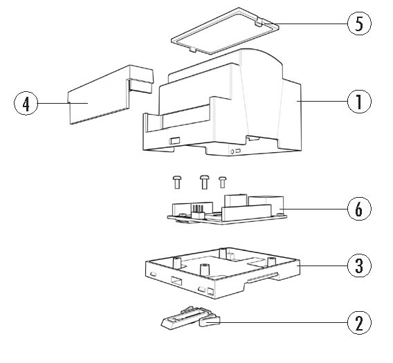
Drawings
Cart 
Products & Online Shop
